| 產品描述 | 技術參數 | 包裝參數 | 技術文檔 | |||
|
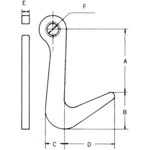
鷹牌F型鋼板吊鉤介紹 【產品名稱】F型鋼板吊鉤 【產品品牌】日本鷹牌(EAGLE CLAMP) 【產品規格】0.75噸、1噸 【產品保質】保質12個月 【用途】吊裝、搬運、安裝、施工 【產品目錄】鋼板吊鉤 【適用建材】覆工板
鷹牌F型鋼板吊鉤優勢 ●F型鋼板吊鉤用于吊裝、搬運、安裝和施工的工作 ●F型鋼板吊鉤插入覆工板即可起吊,使用方便
|
||||||
|
相關產品
|









