| 產品描述 | 技術參數 | 包裝參數 | 技術文檔 | |||||
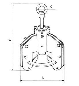
【產品名稱】三木OV型圓管吊鉗(OV型鋼管夾具) 【產品品牌】日本NETSUREN三木品牌 【產品規格】500kg 【品牌承諾】保質一年,日本原裝進口,如有假貨以產品貨值百倍賠償! 【適用鋼材】外徑100mm-510mm圓管、圓鋼等起吊、運輸、搬運、鋪設
●OV型三木圓管吊鉗高強度鋼制本體,經過熱處理及回火,耐磨使用壽命長; ●三木OV型鋼管夾具操作簡單,一鍵式推拉掛環即可安裝和拆卸; ●OV型三木圓鋼吊鉗可直接抓住外徑,無需將吊環螺栓安裝到懸吊物體上; ●三木OV型鋼管夾具5倍安全系數,夾緊力隨載荷物重量成比例增強,緊固不脫落。 |
||||||||
|
相關產品
|









