| 產品描述 | 技術參數 | 包裝參數 | 技術文檔 | |||
|
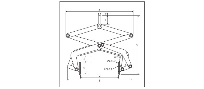
HHH MO型木材夾鉗介紹 【產品名稱】MO型木材夾鉗 【產品品牌】日本HHH品牌 【產品質保】12個月 【產品型號】MO130、MO190
HHH MO型木材夾鉗優勢 ●從厚到薄的物品都可以懸掛,方材、板材等,不管木材的厚度如何都可以吊掛,因此可以改變機型,無需更換針腳。 ●HHH MO型木材夾鉗擋板也可以拆卸。 |
||||||
|
相關產品
|










