| 產品描述 | 技術參數 | 包裝參數 | 技術文檔 | |||||||||
|
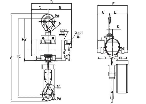
LSGTH型機械式氣動葫蘆介紹 【產品名稱】LSGTH型機械式氣動葫蘆 【產品品牌】龍升 【產品規格】125kg-3t 【產品保質】質保2年(易損件除外) 【產品定制】可按需定制行程、銅制上下吊鉤、100級鏈條以及鍍鋅材質鏈條 【應用領域】廣泛應用于石油、化工、紡織、船廠、噴漆、物流、碼頭、汽車制造、礦山等易燃易爆、高溫、高粉塵、腐蝕性強的的作業場所,也可用于產量大、連續作業性強的汽車、拖拉機、電機、電冰箱等制造行業。
LSGTH型機械式氣動葫蘆質保 LSGTH型機械式氣動葫蘆質保屬于煙臺開發區龍海起重工具有限公司旗下品牌產品,產品保質周期為2年(易損件除外),在產品保質周期內正常使用的情況下出現的質量問題,我公司可提供免費維修、免費更換配件、如因質量問題維修或更換配件仍然不能達到正常使用,可免費更換主機(產品附件以及易損件除外)由此產生的運輸,維修費用由我公司承擔。非質量問題我公司將收費處理,所產生的運輸、維修等費用由客戶承擔。 注意:不論產品出現上述哪種問題,客戶需要提供清楚的故障視頻以及產品故障圖片,并說明使用方式。 LSGTH型機械式氣動葫蘆產品優勢 (1)安全防爆 LSGTH型機械式氣動葫蘆采用壓縮空氣為動力,100%工作循環,經過400小時連續疲勞測試,可以長時間連續的高頻率工作。 LSGTH型機械式氣動葫蘆因為馬達不會發熱,運行的空氣壓力將灰塵、污垢、濕氣和腐蝕性氣體擋在殼體之外,無電氣危險,由于不使用電力,在爆炸環境中免受電擊,使用空氣動力是明顯的優勢,氣動葫蘆無火花運行,安全防爆。 (2)速度可調 LSGTH型機械式氣動葫蘆在提升或下降時,可無級調速;運行速度快,是電動葫蘆的3倍;手拉葫蘆的5-10倍。 (3)過載保護 LSGTH型機械式氣動葫蘆有過載保護和斷氣保護,避免重物超載或氣源突然中斷造成載重物突然掉落造成損傷。 (4)清潔環保 LSGTH型機械式氣動葫蘆內部潤滑系統消除了空氣污染。適合在潮、濕、高粉塵等特殊或惡劣的環境里工作。 (5)搬運省力 LSGTH型機械式氣動葫蘆比電動葫蘆體積小,重量輕,易于搬運,以及產品結構設計堅實,使得操作可靠、易維護。 (6)故障率低、經久耐用 LSGTH型機械式氣動葫蘆經久耐用,使用壽命比一般同類產品有明顯延長。 LSGTH型機械式氣動葫蘆實物圖 LSGTH型機械式氣動葫蘆案例圖一 LSGTH型機械式氣動葫蘆案例圖二 |
||||||||||||
|
相關產品
|














