| 產品描述 | 技術參數 | 包裝參數 | 技術文檔 | |||||
|
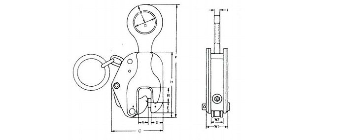
鷹牌EK型豎吊鋼板起重鉗是輕量廣口型夾鉗,易于使用。
【產品名稱】EK型豎吊鋼板起重鉗/EK型鷹牌垂直吊鋼板鉗 【產品品牌】日本EAGLE CLAMP鷹牌 【產品規格】0.35噸,0.5噸 【產品保質】保質期12個月 【是否現貨】現貨供應 【是否定制】非標載荷可定制 【產品分類】縱吊夾具,豎吊夾具,立吊夾具,輕夾具 【產品用途】垂直吊裝,運輸,翻轉,旋轉,焊接,裝配,安裝,并進行沖壓加工等 【適用鋼材】鋼板,型鋼,平鋼,鋼制梁,工字鋼,鋼結構,鍛造制品,鑄造制品,特別適用于造船企業,石油管道,儲罐制作企業,重型汽車制造,大型鋼結構等等。
● EK型鷹牌垂直吊鋼板鉗插銷式鎖裝置工作可靠(緊固彈簧式機構); ● 鷹牌EK型豎吊鋼板起重鉗,擁有自動緊固機構,自動緊固能力強; ● EK型鷹牌垂直吊鋼板鉗平衡負載的2倍以上力量緊固載荷,夾緊力隨負荷成比例增加; ● 鷹牌EK型豎吊鋼板起重鉗,特殊合金鋼制凸輪,高周波淬火工藝; ● EK型鷹牌垂直吊鋼板鉗焊接結構高強度鋼制本體; ● 鷹牌EK型豎吊鋼板起重鉗烤漆(環氧樹脂漆)工藝,耐磨損。 |
||||||||
|
相關產品
|








