| 產品描述 | 技術參數 | 包裝參數 | 技術文檔 | |||||
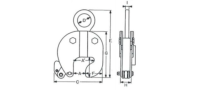
【產品名稱】鷹牌BCR型板狀閥體用鋼板吊鉗,BCR型鷹牌鋼板吊鉗 【產品品牌】日本·鷹牌(EAGLE CLAMP) 【產品規格】0.5T~1T 【產品保質】保質期12個月 【是否現貨】現貨供應 【用途】抬高、搬運、反轉、旋轉、焊接、組裝、搭載、沖壓加工、彎曲加工、適用構件 【適用鋼材】板狀閥體專用夾具,適用于日本工業規格(JIS)及外國工業規格的板狀閥體
● BCR型鷹牌鋼板吊鉗的開口部,與板狀閥體的形狀吻合,是板狀閥體專用吊具; ● 鷹牌BCR型板狀閥體用鋼板吊鉗,附帶杠桿式鎖定裝置,安全系數高。 |
||||||||
|
相關產品
|








